液壓缸維修緩沖裝置能使液壓缸減速緩沖?
液壓缸維修緩沖裝置的工作原理是使缸筒低壓腔(回油腔)內的全部或部分油液,通過節流把動能轉換為熱能,熱能則由回油油液帶到液壓缸外。如圖3-32所示,質量為m的活塞和活塞桿以速度v運動,當緩沖柱塞1進入緩沖腔2時,暢通的回油通道A被遮斷,只能通過節流閥3的節流通道b回油,于是在腔2內產生背壓pc,阻止活塞不能再快速運動而減速,同時運動部分的動能也被腔2內的液體吸收,從而達到緩沖的目的。

圖3-32 液壓缸維修減速緩沖原理 1—緩沖柱塞;2—緩沖腔;3—節流閥
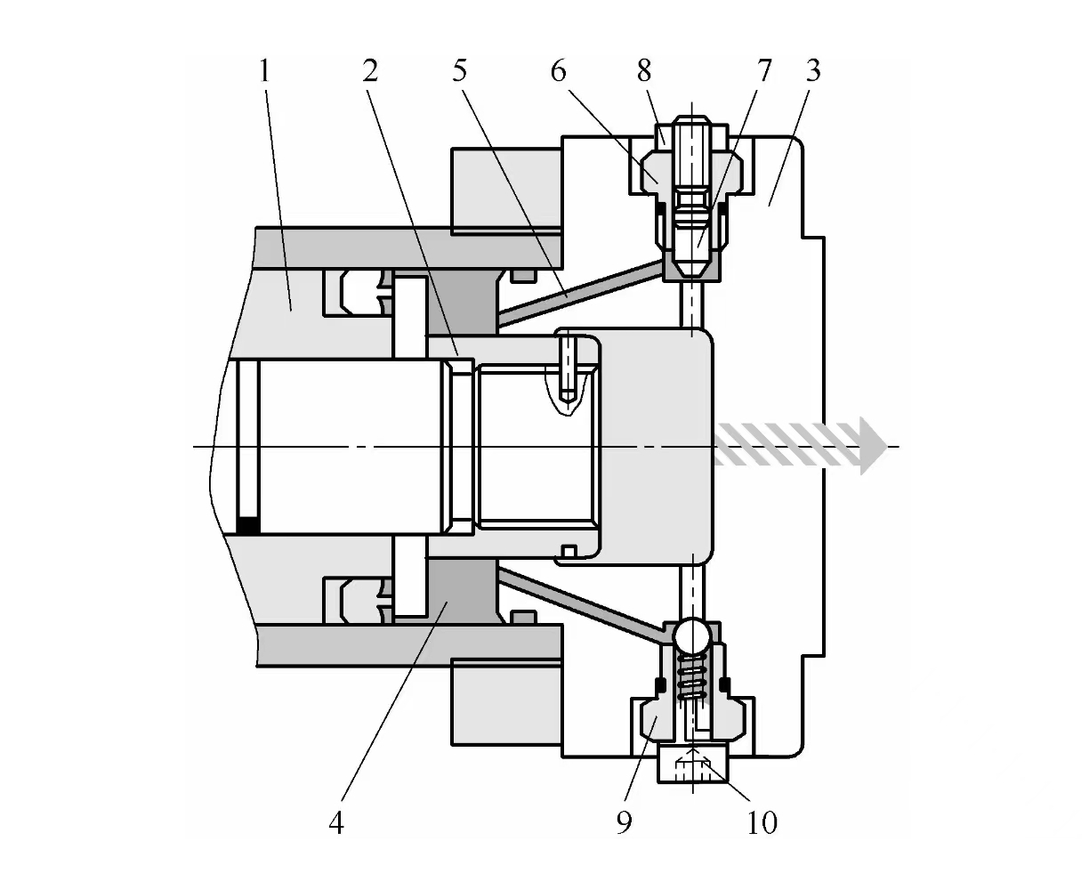
液壓缸維修緩沖裝置具體結構是怎樣的?
如圖3-33所示為液壓缸端部緩沖裝置具體結構,活塞1通過緩沖套安裝在活塞桿上。當錐形緩沖套2進入缸底3的孔時,隨著其開口逐步減小,離開活塞腔4的液流最后為零。活塞腔4的流體只能由孔5和可調節流閥6流出。緩沖的效果要通過節流閥來設置。流動截面積越小,末端緩沖的效果就越好。

圖3-33 緩沖裝置具體結構 1—活塞;2—錐形緩沖套;3—缸底;4—活塞腔;5—孔;6—可調節流閥;7—螺釘;8—鎖緊螺母;9—單向閥;10—放氣閥螺釘
設定緩沖位置時,采用節流閥可防止螺釘7松脫,通過鎖緊螺母8可對緩沖設定進行保護。使用單向閥9有助于液壓缸維修時外伸動作的完成,因此,液壓缸外伸時,液流繞過節流口。而液壓缸中的氣體可通過放氣閥螺釘10排出。無末端緩沖的液壓缸,可以只安裝放氣閥螺釘。節流閥和單向閥基本上用同樣的元件制造而成,因此可以互換。
武漢力富特液壓科技有限公司,是武漢液壓維修行業的領軍企業,公司專業維修液壓油缸,伺服油缸,液壓系統及各類液壓設備。作為液壓行業的專業維修廠家,我們的技術、質量及自動化水平等方面均處在國內同行業先進水平,公司位于優秀歷史名城武漢,能為各個行業提供及時優質的液壓維修服務。
友情鏈接??Copyright ? 2012-2024 武漢力富特液壓科技有限公司 版權所有 鄂ICP備16025594號1 ??鄂公網安備 42010302000812號??XML網站地圖